
LXSW型系列NBIOT遠傳無線水表用于計量流經自來水管道的水體積總量的測量儀表,該新型水表,采用新技術,設計新穎、合理,選材精良、外形美觀、組裝精密、維修方便。本系列無線遠傳冷水水表是在成熟機械冷水水表上的基礎上增加了電子自動采樣計數、數據無線傳輸,方便管理部門遠程監控、管理及維護。
采用NB-IOT物聯網無線通信技術,低功耗設計、使用壽命長,信號覆蓋范圍廣,可以確保數據的正常傳輸;
安裝方便,無需布線,大大降低了施工成本及后期的維護成本;
欠壓提示功能;當內置電池電壓不足時,自動上報系統提示,便于及時更換電池;
帶有方便更換電池的電池倉,便于現場更換電池;
支持實時數據通訊,便于遠程監控和管理;
機械基表和電子部件分離式結構設計,現場維修方便快捷。
水溫≤30℃(冷),水溫≤90℃(熱);
壓力:不大于1Mpa;
最大壓力損失:0.063mPa;
公稱口徑:DN15-DN25;
讀數范圍:0.0005~99999.9999;
工作環境:B級。

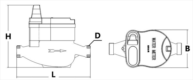
口徑 | 長 | 寬 | 高 | 連接螺紋 | 重量 |
MM | D | Kg | |||
DN15 | 165 | 100 | 145 | G3/4 | 1.3 |
DN20 | 195 | 100 | 145 | G1 | 1.4 |
DN25 | 225 | 100 | 145 | G11/4 | 1.8 |
< 上一篇
LXSWF-NBIoT物聯網閥控水表
下一篇 >
LXSY-25E型光電直讀水表